天软因子服务
Tinysoft factor data

分类清晰、覆盖全面

Comprehensive coverage

因子数据目前包含有股票品种因子,当前推出股票因子 445个,包含有财务因子等等共9类因子,更多其他品种因子陆续上线中。

查看详情

数据覆盖范围
Data coverage
因子个数
455个
覆盖范围
全A股
数据起始
自2000年起
数据量
总量48亿
日增量194万
数据更新频率
Data update frequency
实际数据展示
Actual data display
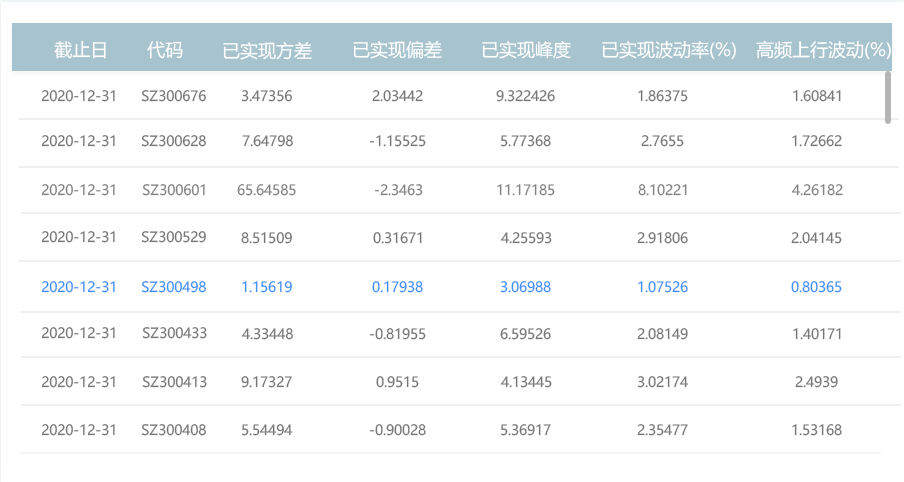
获取沪深300(SH000300)成分股2020-12-31所有的高频因子数据
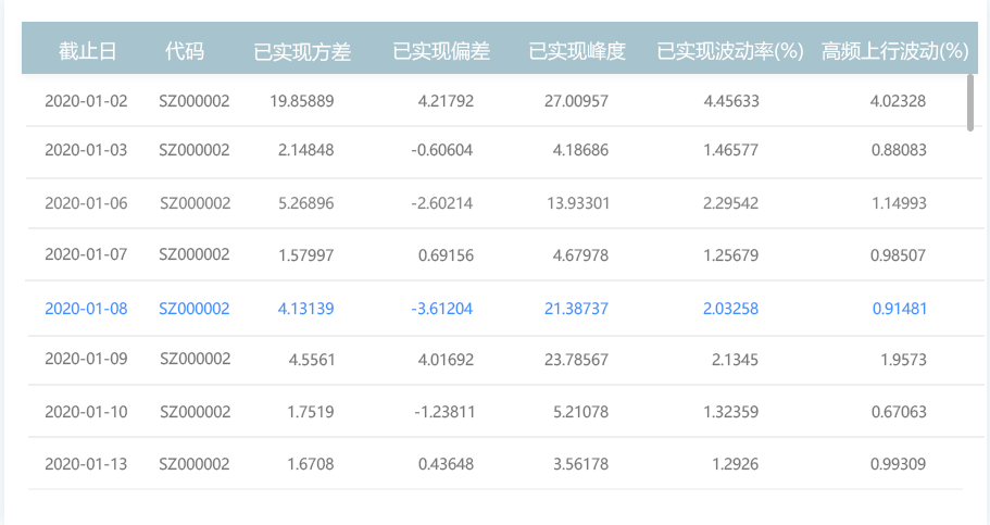
获取万科A(SZ000002)2020-01-02至2020-01-31期间所有高频因子数据